
咨詢電話:18007002733[微信同號]
咨詢電話:0791-88359008
售后電話:0791-88307187
市場監督:0791-88309898
傳真號碼:0791-88310011
咨詢電話:0791-88359008
售后電話:0791-88307187
市場監督:0791-88309898
傳真號碼:0791-88310011



洗地機刷盤的安裝方法
旭潔洗地機刷盤的安裝方法是:使用刷盤升降踏板升起刷盤座,將刷盤放到刷盤座中央,向上貼合刷盤座,向左旋轉,待刷盤裝好,啟動刷盤開關,刷盤轉動,完成裝刷操作。目前市場上所有洗地機品牌基本都是通過類似的電機導向實現刷盤固定座與刷盤的自動對位,在對位的過程中,刷盤固定座與刷盤的安裝端面剛性碰撞,會產生強烈的碰撞對位噪音,影響操作者使用舒適性。為了提高用戶體驗,旭潔新型洗地機進行了研發和改善。
實用新型內容
為了克服現有技術的不足,本實用新型提供一種洗地機無噪音自動裝刷結構。
本實用新型解決其技術問題所采用的技術方案是:
一種洗地機自動裝刷減震結構,包括刷盤固定座與刷盤,所述刷盤固定座或刷盤的安裝端面上設置有環形凹槽,所述環形凹槽內裝有O型膠
圈;所述刷盤固定座的端面設置有多個長條形滑槽,所述刷盤的端面設置有多個與所述滑槽配合的限位柱。
作為本實用新型的改進,所述限位柱呈上寬下窄的倒臺階狀,所述滑槽的寬度在尾端處收窄,當所述限位柱滑入所述尾端吋,限位柱的上端臺階面卡在滑槽端面上。
本實用新型的有益效果是:本實用新型的刷盤固定座旋轉時,通過長條形滑槽和限位柱的配合自動調節對正與刷盤安裝的正確位置,O型膠
圈在刷盤固定座與刷盤剛性接觸之前,起到了緩沖作用,避免因安裝端面的剛性接觸而產生的碰撞噪音,大大改善了自動裝刷動作操作的舒適性,可廣泛適用于帶有各種自動裝刷結構的洗地機上。
附圖說明
下面結合附圖和實施例對本實用新型進一步說明。

圖1是本實用新型的拆分結構示意圖

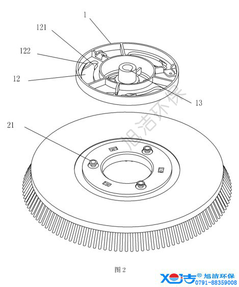
圖2是本實用新型刷盤安裝面與刷盤固定座的結構示意圖
實用新型內容
為了克服現有技術的不足,本實用新型提供一種洗地機無噪音自動裝刷結構。
本實用新型解決其技術問題所采用的技術方案是:
一種洗地機自動裝刷減震結構,包括刷盤固定座與刷盤,所述刷盤固定座或刷盤的安裝端面上設置有環形凹槽,所述環形凹槽內裝有O型膠
圈;所述刷盤固定座的端面設置有多個長條形滑槽,所述刷盤的端面設置有多個與所述滑槽配合的限位柱。
作為本實用新型的改進,所述限位柱呈上寬下窄的倒臺階狀,所述滑槽的寬度在尾端處收窄,當所述限位柱滑入所述尾端吋,限位柱的上端臺階面卡在滑槽端面上。
本實用新型的有益效果是:本實用新型的刷盤固定座旋轉時,通過長條形滑槽和限位柱的配合自動調節對正與刷盤安裝的正確位置,O型膠
圈在刷盤固定座與刷盤剛性接觸之前,起到了緩沖作用,避免因安裝端面的剛性接觸而產生的碰撞噪音,大大改善了自動裝刷動作操作的舒適性,可廣泛適用于帶有各種自動裝刷結構的洗地機上。
附圖說明
下面結合附圖和實施例對本實用新型進一步說明。

圖1是本實用新型的拆分結構示意圖

圖2是本實用新型刷盤安裝面與刷盤固定座的結構示意圖
上一篇:旭潔環保誠邀您參觀第十七屆清潔展
下一篇:旭潔洗地機,新工廠的保潔標配
相關內容:
- 2022-12-14
冬季補血養生滋補鴿子湯推薦
- 2022-12-14
兒童和青少年應如何做好奧密克戎變異株防護?
- 2022-12-13
運動健身前應該做哪些準備事項?
- 2022-12-13
兒童單純因營養肥胖應該如何科學控制飲食加強運動?
- 2022-12-12
冬季枸杞、紅棗泡水喝養生的注意事項
- 2022-12-12
中國信息通信研究院12月13日起正式下線“通信行程卡”服務
- 2022-12-09
2023年節假日拼假完全攻略
- 2022-12-09
中國政府網發布國務院辦公廳關于2023年部分節假日安排的通知
- 2022-12-06
南昌市新冠肺炎疫情防控指揮部發布《關于進一步優化疫情防控措施的通告(三)》
- 2022-12-06
《廣東省大學畢業生入伍補助發放暫行辦法》明確了補助的對象和標準



贛公網安備 36010902000366號

